文章目录[隐藏]
光收发一体模块由三大部分组成,它们分别是光电器件(TOSA/ROSA)、贴有电子元器件的电路板(PCBA)和LC、SC、MPO等光接口(外壳)。

光发射部分
光发射部分由光源、驱动电路、控制电路(如APC)三部分构成,主要测试光功率、消光比这两个参数。

光接收部分
光接收部分以PIN为例,是由PINTIA(InGaAs PIN和跨阻放大器)和限幅放大器组成。将输入的光信号通过PIN管转换成光电流,光电流又通过跨阻放大器转换成电压信号。电压信号经限幅放大,并通过整形滤波器与限幅放大器产生差分DATA与DATA的数据信号交流输出。并具有无光告警功能,当光功率不足以维持模块正常工作时,SD端产生逻辑低信号,产生告警。

封装
光模块封装的基本结构为光发射侧模块(TOSA)和驱动电路,光接收侧模块是(ROSA)和接收电路。TOSA、ROSA中的技术壁垒主要在于两方面:光芯片和封装技术,这也正是易飞扬的核心竞争力。
一般ROSA中封装有分光器、光电二极管(将光信号转换成电压)和跨阻放大器(放大电压信号),TOSA中封装有激光驱动器、激光器和复用器。TOSA、ROSA的封装工艺主要有以下四种:
TO-CAN同轴封装
TO-CAN同轴封装:壳体通常为圆柱形,因为其体积小,难以内置制冷,散热困难,难以用于大电流下的高功率输出,故而难以用于长距离传输。目前最主要的用途还在于2.5Gbit/s及10Gbit/s短距离传输。但成本低廉,工艺简单。

TO-CAN同轴封装

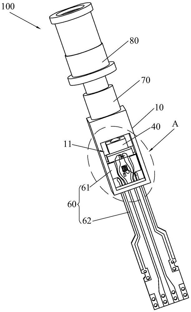
易飞扬采用TO-CAN同轴封装工艺制作的10G SFP+ AOC产品(爆炸图)
蝶形封装
蝶形封装:壳体通常为长方体,结构及实现功能通常比较复杂,可以内置制冷器、热沉、陶瓷基块、芯片、热敏电阻、背光监控,并且可以支持所有以上部件的键合引线。壳体面积大,散热好,可以用于各种速率及80km长距离传输。

蝶形封装
BOX封装
BOX封装属于蝶形封装,用于多通道并行封装。

BOX封装

易飞扬采用BOX封装工艺制作的100G QSFP28 LR4光模块
COB(Chip On Board)封装
COB封装即板上芯片封装,将激光芯片粘附在PCB基板上,可以做到小型化、轻型化、高可靠、低成本。

COB封装
传统的单路10Gb/s或25Gb/s速率的光模块采用SFP封装将电芯片和TO封装的光收发组件焊接到PCB板上组成光模块。而100Gb/s光模块,在采用25Gb/s芯片时,需要4组组件,若采用SFP封装,将需要4倍空间。COB封装可以将TIA/LA芯片、激光阵列和接收器阵列集成封装在一个小空间内,以实现小型化。技术难点在于对光芯片贴片的定位精度(影响光耦合效果)和打线质量(影响信号质量、误码率)。

易飞扬采用COB工艺制作的10G SFP+ AOC产品(爆炸图)
易飞扬拥有一整套COB工艺制程设备,在手动耦合满足定制化,而自动耦合则满足批量的一致性要求:

易飞扬COB工艺制程设备
总结
25G及以下速率光模块多采用单通道TO或蝶形封装,有标准的制程和自动化设备,技术壁垒低。但对于40G及以上速率的高速光模块,受激光器速率限制(多为25G),主要通过多通道并行实现,如40G由4×10G实现,而100G则由4×25G实现。高速光模块的封装对并行光学设计、高速率电磁干扰、体积缩小、功耗增加下的散热问题提出了更高的要求。
易飞扬在封装技术工艺上拥有一整套完备的技术平台,可用于各封装工艺类型的研发、生产,保证产品交付的效率、可靠性和稳定性。


易飞扬生产制程关键工艺平台
